
手机游戏
角色扮演
动作格斗
休闲益智
枪战射击
战争策略
音乐舞蹈
模拟经营
体育竞技
冒险解谜
其他游戏
手机软件
社交聊天
系统工具
金融理财
时尚购物
旅游出行
影音播放
生活实用
办公学习
资讯阅读
拍摄美化
医疗健康
手机新闻
手游新闻
手游攻略
手机应用
专题合集
游戏合集
软件合集
  • 首页
  • 游戏
  • 应用
  • 专题
  • 资讯
  • 刘畊宏抖音直播回放在哪里看?

    刘畊宏抖音直播回放在哪里看?

    2025-09-21

  • 刘畊宏在哪个平台直播健身?

    刘畊宏在哪个平台直播健身?

    2025-09-21

  • 苹果手机原相机舞台灯光怎么用

    苹果手机原相机舞台灯光怎么用

    2025-08-13

  • 支付宝暂停提现是真的吗

    支付宝暂停提现是真的吗

    2025-08-13

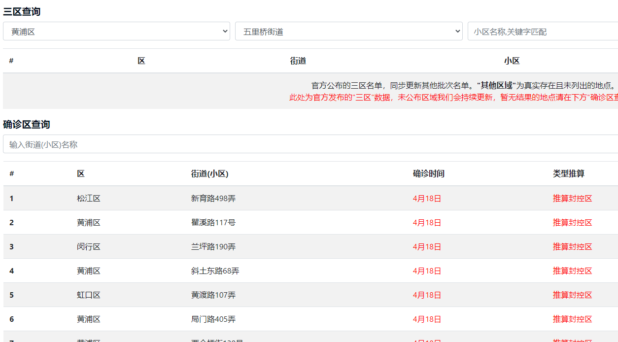
  • 上海小区疫情数据怎么查

    上海小区疫情数据怎么查

    2025-08-13

  • ios15.5Beta 2建议升级吗

    ios15.5Beta 2建议升级吗

    2025-08-13

  • 微信删除的聊天记录怎么恢复

    微信删除的聊天记录怎么恢复

    2025-08-13

  • 苹果手机app后台刷新怎么关

    苹果手机app后台刷新怎么关

    2025-08-13

  • 毕业日是什么梗?

    毕业日是什么梗?

    2025-09-28

  • i茅台怎么才能申购成功

    i茅台怎么才能申购成功

    2025-09-28

  • i茅台app是正规的吗

    i茅台app是正规的吗

    2025-09-28

  • i茅台app可以买到茅台酒吗

    i茅台app可以买到茅台酒吗

    2025-09-01

  • 华为ios13主题怎么设置?

    华为ios13主题怎么设置?

    2025-09-01

  • 支付宝暂停提现是真的吗?

    支付宝暂停提现是真的吗?

    2025-09-01

  • 抖音城堡多少钱人民币?

    抖音城堡多少钱人民币?

    2025-09-01

首 页  220022012202  尾 页
  • 游戏
  • 资讯
  • 专题
  • 应用

意见反馈.