上海小区疫情数据怎么查

2025-08-13 11:06:05 作者:zhuweiyi

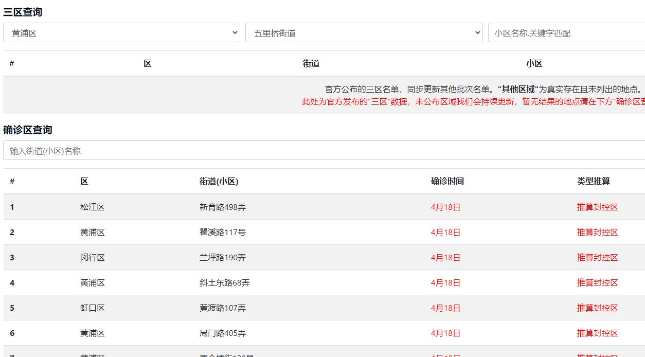
上海小区疫情数据怎么查?很多上海小伙伴想要查看自己小区的疫情情况,三区的划分,解封日期,小区内阳性情况,都可以通过上海疫情计算器解封来查询,那么小编下面就为大家带来查询入口地址,快来看看吧。

上海小区疫情数据怎么查

image.png

上海疫情参考计算器直达链接:点击跳转(仅供参考,不作为正式解封日期)

根据上海市政府官方统计数据发布的情况,以便随时了解上海社区疫情的实时状况,采取自我防范措施。

上海疫情计算器,了解感染人数趋势,所在社区防控水平以及预计解封时间

上海疫情计算器(预计解封时间)功能亮点

1.信息感知,数据采集

2.健康申报,数据分析健康状况自我上报和上报他人

3.可以检测持有系统软件应用的人群,您可以了解精确个人健康状态,以做好更好的隔离状态;

4、使用者可以查询14天内历史接触记录,和所有接触对象的健康状况,自我评估感染风险。

5、软件上填写个人基础疾病、添加接种日记可以查看疫苗接种注意事项。

6、查看个人行动轨迹和历史接触记录,查询是否接触高危对象,自我评估健康状况。

上海疫情计算器(预计解封时间)教程攻略

1.查看平台推送的自动记录的众多信息,查看确诊、疑似等数据;

2.点击接触记录,查看地图显示的轨迹,点击轨迹查看设备列表;

3.收录了全国各个地区的风险等级,还有超多的详细信息可以进行查看;

4.超级好用的一款上海疫情地区统计数据平台,能够查询上海市各小区、街道的封闭时间和具体的解封时间,直接输入想要了解的小区街道名称,或选择高风险预警地区查看,即可详细的了解并知晓。

免责声明:以上内容源自网络,版权归原作者所有,如有侵犯您的原创版权请告知,我们将尽快删除相关内容。

相关游戏攻略

相关游戏